风险等级


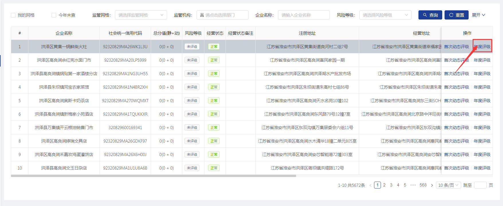
【风险等级】菜单显示各个企业的风险等级信息。可以通过监管网格、监管机构、企业名称、风险等级、标签等等条件来查询需要的企业。若企业还未评级,可点击【首次动态评价】按钮,对该企业进行风险分值评估和风险等级评级。



若已经在主体信息初始化时选择了风险等级则无需再进行评级。同样还可以对企业进行【年度评价】操作,点击年度评级按钮后,再点击新增按钮,依次选择评级建议、评定日期以及评定后的级别,最后根据需要填写备注即可。



食安小编 2021年9月13日 14:10 收藏文档