智慧监管操作手册
智慧监管系统APP端操作说明
下载APP
登录APP
日常监管
主体信息
主体责任
记录查询
风险评估
计划任务
临时任务
动态风险评估
整改操作
农批市场食品安全风险隐患评估
量化分级
江苏冷链
许可核查
统计分析
基础信息
监督检查
主体责任
预警分析
特殊食品
培训考核
智慧监管PC端操作手册
账号添加
登录系统
首页
我的任务
预警信息
快捷导航
通知公告
企业动态
基础信息
主体信息
监管地图
风险等级
异常主体
我的网格组
网格化管理
主体初始化
使用企业监管码(一户一码)替代日常检查结果表的操作办法
日常检查
任务制定
任务执行
任务归档
备案审批
备案审核
文书打印
备案撤销
归档查询
主体责任模块操作说明
江苏食品经营微信小程序主体责任操作手册
预警信息
主体责任预警
动态评估预警
许可即将到期
从业人员测评
当年未检预警
异常企业预警
记录查询
日常检查
自查记录
风险记录
整改记录
责令停业
移交处理
农批市场安全风险记录
培训考核
现场抽考
考试计划
常见问题
更新日志
-
+
首页
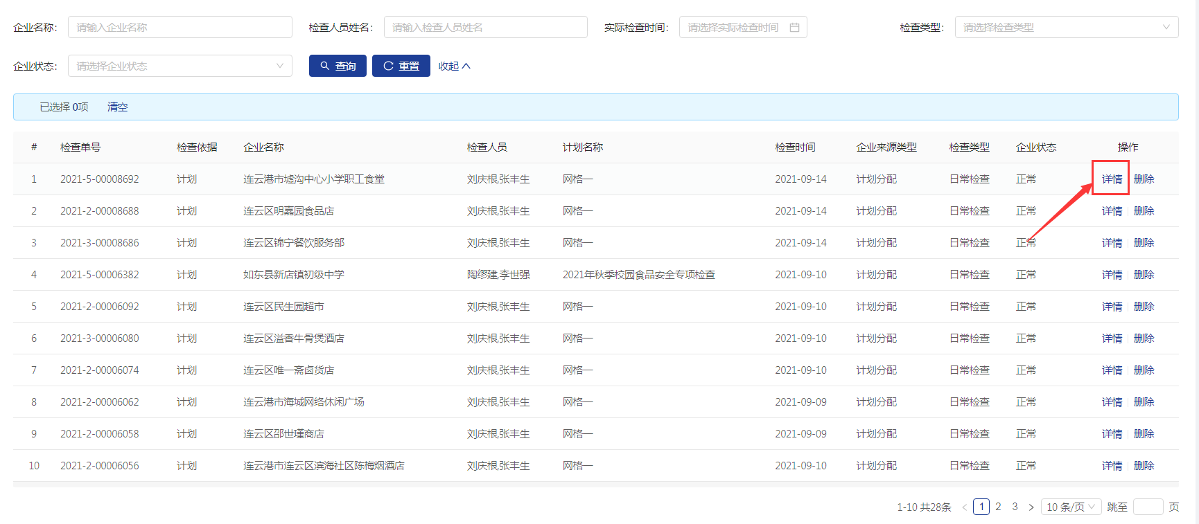
责令停业
【责令停业】菜单显示所有检查不合格,处理结果选择停业的企业信息。可以通过企业名称、检察人员姓名、实际检查时间、检查类型、企业状态来查询。
点击【详情】按钮也可以查看企业详细的现场检查记录。
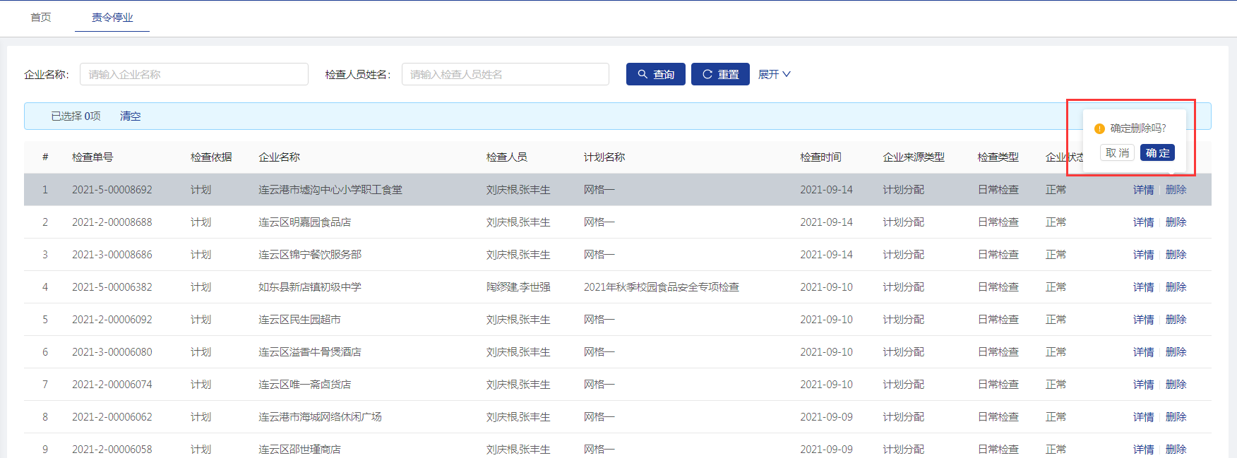
列表最后点击【删除】按钮,可以删除停业记录。
食安小编
2021年9月15日 14:49
分享文档
收藏文档
上一篇
下一篇
微信扫一扫
复制链接
手机扫一扫进行分享
复制链接
Markdown文件
分享
链接
类型
密码
更新密码