江苏冷链操作手册
企业微信小程序操作手册
登录冷链追溯系统
登录-注册账号
主体登记
仓库管理
自有、租赁仓库
委托仓库
入库
首站赋码
扫码入库
委托入库
出库
自用出库
零售出库
批发出库
委托批发出库
拆分
库存查看
调拨
历史记录
草稿箱
联系单位
消费者溯源
联系方式
企业PC端企业操作手册
登录系统
首站赋码
扫码入库
出库查询
自用出库
库存拆分
库存查看
联系方式
监管端PC操作手册
系统登录与退出
系统登录
退出登录
系统首页与密码修改
系统首页
密码修改
基础信息
企业信息
企业赋码
管区变更
无交易企业
许可查询
仓库信息
三方冷库审核
三方冷库企业
经营企业仓库
待办工作
应入尽入
待注册企业
交易查询
首站赋码
有码入库
批发出库
自用出库
库存拆分
零售出库
交易撤销
交易修改
跨省交易
交易认领
交易处理
外省退回
企业统计
追溯监管
食品溯源
问题食品
仓库管理
超期预警
集中仓
交易查询
企业警示
赋码统计
企业统计
出入预警
未扫码入库列表
未扫码出库列表
未扫码入库企业
未扫码出库企业
未扫码入库统计
未扫码出库统计
统计报表
企业交易统计
地区交易统计
地区主体统计
企业类型统计
待确认统计
联系方式
系统对接
关于全国出仓证明互认操作说明
系统帮助
江苏冷链“集中仓企业端”操作说明
-
+
首页
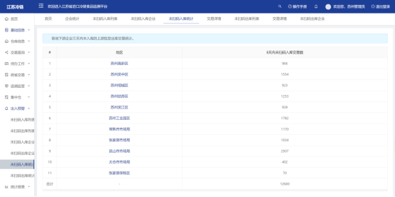
未扫码入库统计
10.5未扫码入库统计
统计本市各区3天内未扫码入库交易数量。再点击区名,可以看到该区各分局的3天未扫码入库交易数量信息。
食安小编
2021年9月7日 20:58
分享文档
收藏文档
上一篇
下一篇
微信扫一扫
复制链接
手机扫一扫进行分享
复制链接
Markdown文件
分享
链接
类型
密码
更新密码